Flowchart And Algorithm For Palindrome

Unsigned reverse unsigned n unsigned accumulator.
Flowchart and algorithm for palindrome. Algorithms and flowcharts are two different tools used for creating new programs especially in computer programming. Flowchart of palindrome program using for loop figure. Draw a flowchart to enter a number and check whether it is palindrome prime or not. 1 the first character is always a palindrome so print yes for first character.
The idea is to keep track of reverse of first half and second half we also use first half and reverse of second half for every index. Here is what we ve come up with so far following our design recipe. Below is complete algorithm. Yusuf shakeel 790 931 views.
Palindrome program in c using for and do while loop with the flow chart. C programming code editor. An algorithm is a step by step analysis of the process while a flowchart explains the steps of a program in a graphical way. An algorithm is a finite set of steps defining the solution of a particular problem.
An algorithm is expressed in pseudo code something resembling c language or pascal but with some statements in english rather than within the programming language. Algorithm using flowchart and pseudo code level 1 flowchart duration. Initialize length to 0 flag to 0. Palindrome program in c with the flowchart.
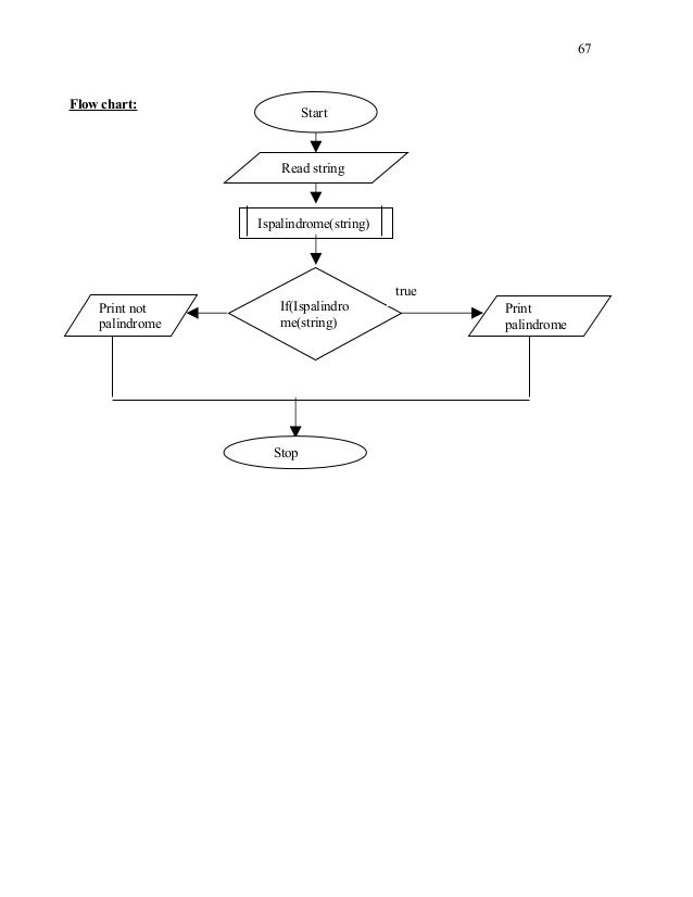
Design an algorithm draw a corresponding flowchart and write a c program to check whether a given string is a palindrome or not. 121 121 is a palindrome number. While string length is not equal to null. In this first algorithm we reverse the string and then compare that reversed string to the original string.